欢迎来到知嘟嘟! 联系电话:13336804447 卖家免费入驻,海量在线求购! 卖家免费入驻,海量在线求购!
知嘟嘟
我要发布
联系电话:13336804447
知嘟嘟经纪人
收藏
专利号: 2014106721526
申请人: 中北大学
专利类型:发明专利
专利状态:已下证
专利领域: 一般的物理或化学的方法或装置
更新日期:2024-01-05
缴费截止日期: 暂无
价格&联系人
年费信息
委托购买

摘要:

权利要求书:

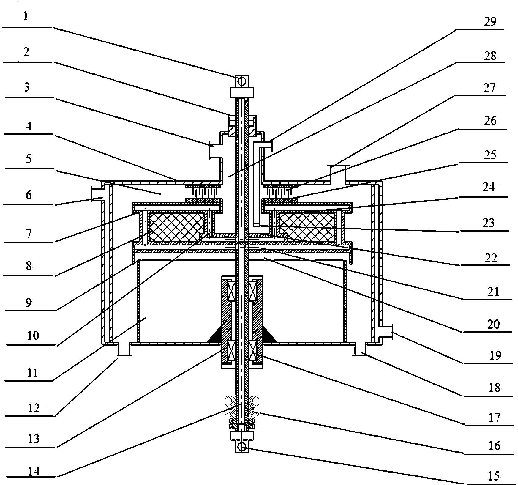
1.一种气相三氧化硫磺化甲苯制备对甲苯磺酸的磺化设备,其包括旋转填料床,旋转填料床上设置进液管(29)、进气管(3)、排液管(18)以及排气管(27),进液管(29)连接原料储槽(40),进气管(3)连接三氧化硫混合气源,排液管(18)经恒温反应器(38)连接产品储罐(39),排气管(27)连接配气混合器(34)的气体进口,配气混合器(34)的气体出口与旋转填料床的进气管(3)相连,原料储槽(40)与旋转填料床的进液管(29)相连;

旋转填料床包括旋转床外壳(4)以及可高速旋转的填料转子,填料转子内腔设有液体分布器(22),液体分布器(22)与进液管(29)连接,填料转子安装于转轴(14)之上,旋转床外壳(4)内自上而下为同轴设置、相互隔离的进气室(28)和主腔室(5),主腔室(5)内上部为高速旋转的填料转子、下部为轴套保护罩(11),主腔室(5)顶部连接排气管(27),主腔室(5)底部连接排液管(18),填料转子内腔顶部开孔与进气室(28)连通,进气室(28)上部侧面连接进气管(3),填料转子处设置传热结构,旋转床外壳(4)内壁装有外壳冷却夹套(12),并留有外壳冷却介质入口(19)和外壳冷却介质出口(6)。

2.根据权利要求1所述的气相三氧化硫磺化甲苯制备对甲苯磺酸的磺化设备,其特征在于填料转子包括上转盘(7)和下转盘(9),上转盘(7)和下转盘(9)分别装有上转盘夹套(24)和下转盘夹套(20),下转盘(9)靠近中心处上面再装一层下转盘小夹套(21),上转盘(7)和下转盘(9)通过内、外两排圆形布置的若干圆管连接,内、外圈圆管分别装在靠近转子内腔和外腔的边缘处,内圈圆管(10)连通上转盘夹套(24)和下转盘小夹套(21),外圈圆管(8)连通上转盘夹套(24)和下转盘夹套(20),内、外圈圆管之间的空间装有若干间距的同心环状填料支撑,填料支撑内部装有填料,填料支撑周向密布开孔,下转盘(9)焊接于转轴(14)上,所述转轴(14)为空心结构,转轴(14)分为上下分隔的两段,上段对应下转盘小夹套(21)的部位开孔并与下转盘小夹套(21)连通,下端对应下转盘夹套(20)的部位开孔并与下转盘夹套(20)连通。

3.根据权利要求1或2所述的气相三氧化硫磺化甲苯制备对甲苯磺酸的磺化设备,其特征在于所述的转轴(14)顶端穿出进气室(28)顶部中心部位与转子夹套冷却液的进液口(1)连接、底端穿出主腔室(5)底部中心部位与转子夹套冷却液的出液口(15)连接,转轴(14)与转子夹套冷却液进、排液管之间使用旋转接头连接,转轴(14)底部连接被动皮带轮(16),通过皮带与电机相连接。

4.根据权利要求3所述的气相三氧化硫磺化甲苯制备对甲苯磺酸的磺化设备,其特征在于转轴(14)套于轴套(13)内,轴套(13)固定于主腔室(5)底部,轴套(13)在轴套保护罩(11)里边,轴套保护罩(11)是圆筒形结构的钢圈,轴套保护罩(11)的直径小于下转盘(9)直径。

5.根据权利要求4所述的气相三氧化硫磺化甲苯制备对甲苯磺酸的磺化设备,其特征在于所述的进气室(28)与主腔室(5)之间设置密封结构,所述的密封结构包括上下设置的上密封圆盘(26)和下密封圆盘(25),上密封圆盘(26)与壳体顶盖连接,下密封圆盘(25)与上转盘(7)连接,下密封圆盘(25)中心均布设若干扇形孔,上、下密封圆盘上设有迷宫环,上、下密封圆盘的迷宫环相嵌在一起,迷宫环的最外圈设置油封毡圈。

6.根据权利要求5所述的气相三氧化硫磺化甲苯制备对甲苯磺酸的磺化设备,其特征在于上转盘开圆孔让转轴(14)通过且实现填料转子内腔(23)与进气室(28)连通。

7.根据权利要求6所述的气气相三氧化硫磺化甲苯制备对甲苯磺酸的磺化设备,其特征在于转轴(14)上下段分隔部位为实心,实心处与下转盘(9)中间层钢板焊接连接。

8.根据权利要求7所述的气相三氧化硫磺化甲苯制备对甲苯磺酸的磺化设备,其特征在于旋转填料床的排液管(18)经恒温反应器(38)与产品储罐(39)相连,旋转填料床的排气管(27)经气液分离装置(31)和气体干燥装置(37)与配气混合器(34)的气体入口相连,配气混合器(34)的气体出口经气体流量计II(35)与旋转填料床的进气管(3)相连,原料储槽(40)通过依次相连接的换热器(41)、泵(42)以及液体流量计(44)与旋转填料床的进液管(29)相连。

9.一种气相三氧化硫磺化甲苯制备对甲苯磺酸的制备方法,基于如权利要求7所述的气相三氧化硫磺化甲苯制备对甲苯磺酸的磺化设备完成,其特征在于步骤如下:开启旋转填料床(4),将冷却液通入填料转子夹套和外壳夹套(12)中,待稳定后,液相的甲苯由旋转填料床的进液管(29)进入旋转填料床,气相的三氧化硫混合气体从旋转填料床的进气管(3)通入旋转填料床,液相与气相在旋转填料床的填料中进行接触发生磺化反应,磺化反应后的液态产物从旋转填料床的排液管(18)排出,进入恒温反应器(38)继续反应,得到产品,反应后的气态产物由旋转填料床的排气管(27)排出经分离干燥处理后进入配气混合器(34),满足配气条件后进入旋转填料床的进气管(3),进行循环使用。

10.根据权利要求8实现所述的旋转填料床磺化设备用于气相三氧化硫磺化甲苯制备对甲苯磺酸的方法,其特征在于所述的旋转填料床(4)中反应温度为0℃~10℃,三氧化硫混合气是由氮气、惰性气体或干燥空气稀释三氧化硫而得,三氧化硫混合气中的三氧化硫浓度为6%~10% v/v,三氧化硫和甲苯的摩尔比为0.3~0.5︰1,旋转填料床的转速为

3 2

500~3000r/min,液体的喷淋密度为5~18 m/m.h。