欢迎来到知嘟嘟! 联系电话:13336804447 卖家免费入驻,海量在线求购! 卖家免费入驻,海量在线求购!
知嘟嘟
我要发布
联系电话:13336804447
知嘟嘟经纪人
收藏
专利号: 2014105345681
申请人: 成都创源油气技术开发有限公司
专利类型:发明专利
专利状态:已下证
专利领域: 测量;测试
更新日期:2024-02-23
缴费截止日期: 暂无
价格&联系人
年费信息
委托购买

摘要:

权利要求书:

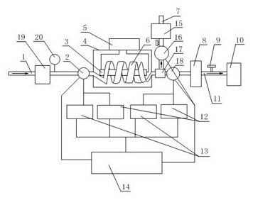
1.页岩有机碳含量分析简易装置,其特征在于:包括内部中空的氧化室(4),所述氧化室(4)中设置有水银蒸汽电弧灯管(3),氧化室(4)的外部设置有电源(5),电源(5)与水银蒸汽电弧灯管(3)连接,水银蒸汽电弧灯管(3)的外壁上套合有内部中空且两端开口的盘管(6),盘管(6)的两端均伸出氧化室(4),盘管(6)—端连接有进气管(1),盘管(6)的另一端连接有出气管(1),进气管(I)上设置有电导率传感器一(2),且电导率传感器一(2)与进气管(I)连通,出气管包括相互连通的出气管一(11)和液体管(7),出气管一(11)和液体管(7)均同时与盘管(6)连通,盘管(6)与出气管连通的位置设置有分离器(17),分离器(17)同时与盘管(6)、出气管一(11)和液体管(7)连通,且分离器(17)设置在氧化室(4)外部,液体管(7)上设置有电导率传感器二(16),电导率传感器二(16)与液体管(7)内部连通,出气管一(11)上设置有电阻系数传感器(18),电阻系数传感器(18)与出气管一(11)内部连通,电阻系数传感器(18)连接有控制箱(14),控制箱(14)同时与电导率传感器一(2)、电导率传感器二(16)和电阻系数传感器(18)连接,电导率传感器一(2)和电阻系数传感器(18)均连接有数据显示器(13)和蜂鸣报警器(12),且数据显示器(13)和蜂鸣报警器(12)均与控制箱(14)连接;所述液体管(11)上设置有流量计二(8)、流量控制阀二(9)以及TOC分析仪(10),且流量计二(8)、流量控制阀二(9)以及TOC分析仪(10)均与液体管(11)连通,流量控制阀二(9)设置在流量计二(8)和TOC分析仪(10)之间,流量计二(8)设置在流量控制阀二(9)和电阻系数传感器(18)之间。

2.根据权利要求1所述的页岩有机碳含量分析简易装置,其特征在于:所述液体管(7)上设置有流量计一(15 )和流量控制阀一,流量计一(15 )和流量控制阀一均与液体管(7 )连通,流量控制阀一设置在电导率传感器二( 16)和流量计一(15)之间。

3.根据权利要求1所述的页岩有机碳含量分析简易装置,其特征在于:所述进气管(I)上设置有压力控制器(19)和压力表(20),且压力控制器(19)和压力表(20)均与进气管(I)连通,压力表(20)设置在压力控制器(19)和氧化室(4)之间。