欢迎来到知嘟嘟! 联系电话:13336804447 卖家免费入驻,海量在线求购! 卖家免费入驻,海量在线求购!
知嘟嘟
我要发布
联系电话:13336804447
知嘟嘟经纪人
收藏
专利号: 2014104009838
申请人: 浙江工业大学
专利类型:发明专利
专利状态:已下证
专利领域: 磨削;抛光
更新日期:2023-08-24
缴费截止日期: 暂无
价格&联系人
年费信息
委托购买

摘要:

权利要求书:

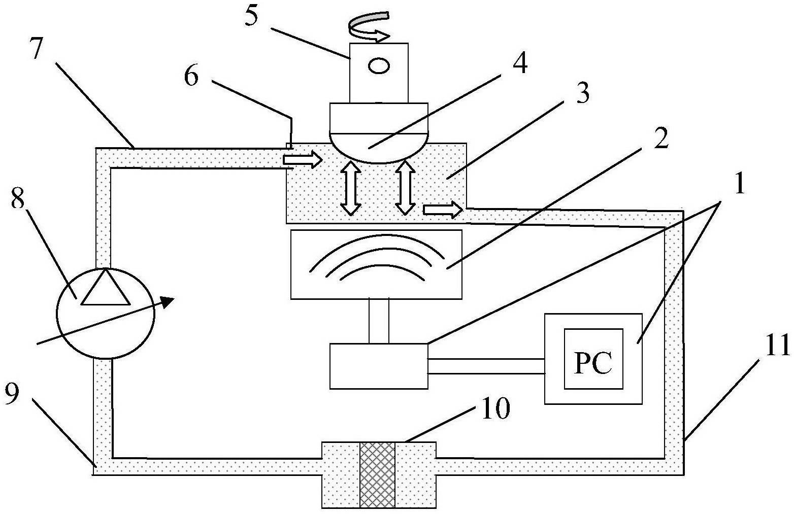
1.一种超声控制的剪切增稠抛光方法,包括以下步骤:

1)、向抛光池中加入混有磨粒的具有剪切增稠效应的非牛顿流体抛光液,并将工件固定在夹具上,所述夹具位于抛光池的上方;

2)、启动抛光液循环系统,使所述的非牛顿流体抛光液循环地从抛光池底部抽出并从抛光池上部输入;

其特征在于:超声波发生装置位于抛光池的底部,且所述超声波发生装置的超声发送方向与所述工件正对;所述抛光方法还包括以下步骤:

3)、启动超声波发生装置,同时设定振动频率和振幅,使抛光池内所述的非牛顿流体抛光液迅速发生振动,使抛光液发生强烈的剪切增稠的现象;

4)调节夹具,使工件相对运动,具有抛光作用的磨粒对工件产生微切削作用或化学机械作用实现对工件表面材料的去除,从而实现对工件表面的抛光。

2.如权利要求1所述的一种超声控制的剪切增稠抛光方法,其特征在于:所述步骤4)中,所述夹具可以上下左右移动或转动,所述的夹具与用于驱动夹具上下左右移动及转动的驱动机构连接。

3.如权利要求1或2所述的一种超声控制的剪切增稠抛光方法,其特征在于:所述步骤2)中,抛光液循环系统中,过滤出非牛顿流体抛光液中的大颗粒磨屑,添加或取出非牛顿流体抛光液。

4.一种用于实现如权利要求1所述的超声控制的剪切增稠抛光方法的装置,包括抛光池、抛光液循环系统和用于固定工件的夹具,所述夹具位于所述抛光池的上方,所述抛光液循环系统的循环出口与所述抛光池的上部入口连通,所述抛光液循环系统的循环进口与所述抛光池的底部出口连通,其特征在于:所述装置还包括用以使抛光池内所述的非牛顿流体抛光液迅速发生振动的超声波发生装置,超声波发生装置位于抛光池的底部,且所述超声波发生装置的超声发送方向与所述工件正对。

5.如权利要求4所述的装置,其特征在于:所述超声波发生装置与用以控制超声波发生器的振动频率和振幅的控制器连接。

6.如权利要求4或5所述的装置,其特征在于:所述抛光液循环系统中,上循环管路的上端与抛光池的左上端的上部入口连接,上循环管路的下端与泵的输出连接;中循环管路的上段与泵的输入连接,中循环管路的下端与抛光液过滤装置左端的连接;下循环管路的上段与抛光池的右下端的底部出口连接,下循环管路的下端与抛光液过滤装置的右端连接。

7.如权利要求6所述的装置,其特征在于:所述抛光液过滤装置包括过滤大颗粒磨削的滤网和添加或取出非牛顿流体抛光液的进出料口。

8.如权利要求4或5所述的装置,其特征在于:所述的夹具与用于驱动夹具上下左右移动及转动的驱动机构连接。