欢迎来到知嘟嘟! 联系电话:13336804447 卖家免费入驻,海量在线求购! 卖家免费入驻,海量在线求购!
知嘟嘟
我要发布
联系电话:13336804447
知嘟嘟经纪人
收藏
专利号: 2014102886981
申请人: 燕山大学
专利类型:发明专利
专利状态:已下证
专利领域: 计算;推算;计数
更新日期:2024-01-05
缴费截止日期: 暂无
价格&联系人
年费信息
委托购买

摘要:

权利要求书:

1.一种基于属性拓扑的博客数据的形式概念计算方法,其特征在于:该方法内容包括如下步骤:

1)形式背景的属性拓扑表示

从图论的角度看,属性拓扑表示是关于属性间关系的加权图表示,因此在存储上可以借鉴图的存储方式,对属性拓扑进行邻接矩阵描述;

形式背景K:=(G,M,I)中,定义T=(V,Edge)为属性拓扑的邻接矩阵,其中V=M为拓扑的顶点集合,Edge为拓扑中边的权值集合;

属性拓扑的邻接矩阵表达式如下所示:

全局属性是指形式背景中全部的对象均包含的属性;空属性是指形式背景中不属于任何对象的属性;

定义1在属性拓扑中,若对任意的Edge(mi,mj)≠Φ,都有Edge(mj,mi)≠Φ,则属性mj为顶层属性;顶层属性在属性拓扑图中的直观表示为其所连接的边均为双向边和单向出边;

定义2在K:=(G,M,I)中,mi∈M;若存在集合N,对于 且都满足则属性mi为属性mj的伴生属性,属性mj为属性mi的父属性;

属性m可以为多个属性的伴生,即m可以有多个父属性;伴生属性m的所有父属性构成m的父属性集,记做F(m);

顶层属性必不是伴生属性;

2)伪父属性对的确定

定义3设一伴生属性a,定义非空集合Pia为属性a的第i个伪父属性对,非空集合a为与Pi 一一对应的对象集,则满足 都有在形式背景中,可能存在非空集合 对 都有且 即伴生属性a可以有多个不同的伪父属性对;

a

伴生属性a的所有不同的伪父属性对构成集合为P,有a

在属性拓扑中,伴生属性a及其任一伪父属性对构成的MT={mi|mi∈a∪{Pi}}必定为完全多边形;

对伴生属性a, 满足 即a的任意两个伪父属性对中不包含相同的属性;

伴生属性a的任一伪父属性对中都不包含a的父属性;

3)属性拓扑的退化

在原拓扑基础上加入节点Ψ和E(g(Ψ)=G,g(E)=Φ),Ψ作为全局起点,E作为全局终点;设集合 对 构造单向边<Ψ,mi>,同时令Edge(Ψ,mi)=g(mi),对 令<mj,E>=End,其中End为终结符;为了统一表述,画图中采用单向边描述;

拓扑退化分以下两种情况:

(i)不存在伴生属性

则令A=M且B=M,即 令Edge(Ψ,m)=g(m),同时令<m,E>=End,(ii)存在伴生属性

则令A为顶层属性集,B为伴生属性集,则A∪B=M,且A∩B=Φ;

4)节点的排序

假设M为拓扑的全部属性集,顶层属性集为 伴生属性集 #{·}代表集合内元素的个数;

对 令num(mi)=#{n|Edge(n,mi)≠Φ,orEdge(mi,n)≠Φ,n∈M-mi},定义4对于非空集合 定义一种映射T:C→C满足:(2)num(c1)≤num(c2)≤...num(ci)T T

由定义4可知,对于上述集合A,B,有A ={m1,m2,m3...mi},B ={n1,n2,n3...nj},T T由定义4可知集合A 是对集合A内所有元素重新排序后的结果,即A 为一个有序的集T合;B 是以同样的规则对集合B内元素排序后的结果;

令 即

由上述描述可知, 做为一个有序集合,是在加入起点和终点的属性集合的基础上,对所有属性进行排序的结果;排在起点之后的为一系列的顶层属性,之后是一系列伴生属性,最后为加入的终点;后续算法中对节点的搜索和回溯都是在此基础上进行的;

对有序集合 而言,m1=Next(Ψ),m2=Next(m2);

5)路径的表示

设拓扑的全部属性集为X={x1,x2,x3...xm},共有m个属性定义5定义一种关系 同时满足:

其中, 满足:

(3)n≤m

(4)x1Λx2≠x2Λx1,

(5)(x1Λx2)Λx3=x1Λ(x2Λx3),(6)x1Λx2Λx3=(x1Λx2)Λ(x2Λx3),由上述定义5可知,当 时, 由它的大小和方向唯一确定,它的大小用 来表示, 方向由 来表示;

P

由上述定义及其分析可知, 可以表示路径的形成过程:θ 记录了当前路径依次经过的属性节点,即<x1,x2,x3...xn>,每两个相邻的节点间存在单向边,即路径中的边依次为<x1,x2>,<x2,x3>...<xn-1,xn>,并将∠P作为边<xn-1,xn>上的权值;

路径依次经过的属性节点构成集合I,I={x1,x2...xn};

若在现有路径的基础上,加入一个新的节点xn+1,有P=PΛ{xn+1},路径进行更新:生成一个新的节点xn+1和新的边<xn,xn+1>,边<xn,xn+1>上的权值为 路径依次经过的属性节点为I={x1,x2,x3...xn,xn+1};

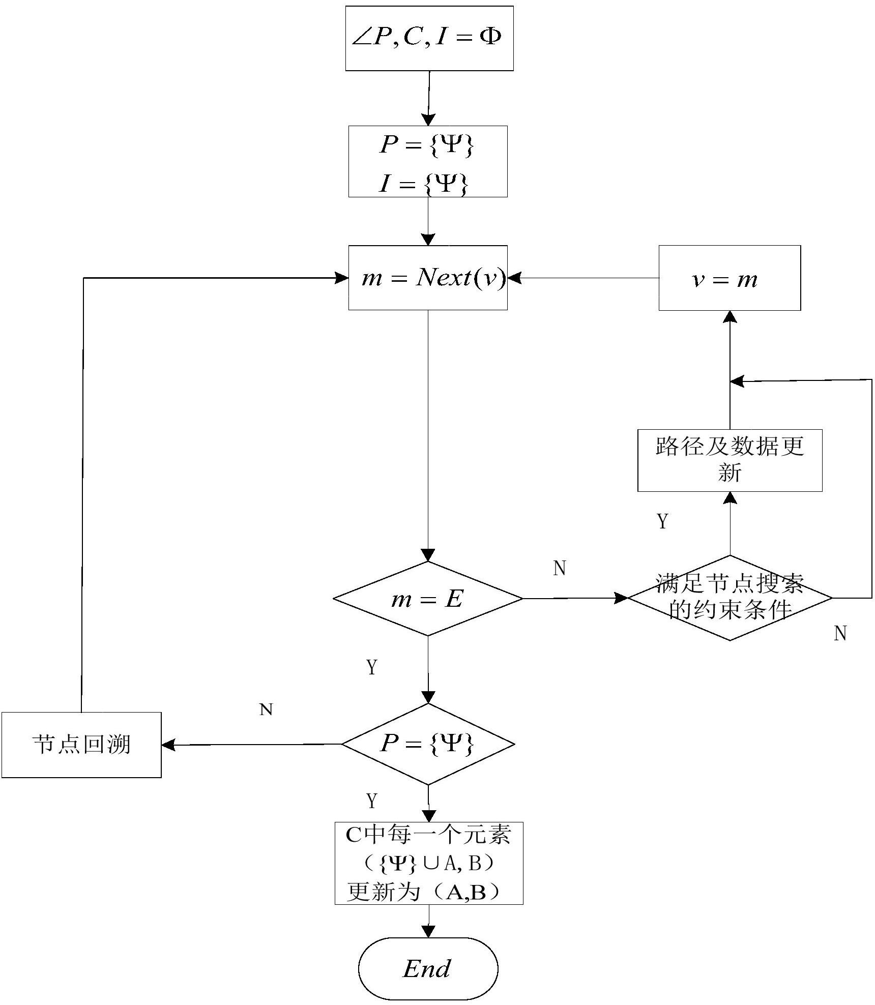
6)主算法描述

设原拓扑属性集合为X(#X=n-2), 共有n个属性,设属性类别集合为{0,1},表示属性xi的类别为Mark(xi),则令Mark(xi)∈{0,1};

Step1初始化∠P=Φ,I=Φ,初始化Mark(xi)=0, 初始化概念集C=Φ;

Step2初始化v=Ψ令P={Ψ},C={(g(Ψ),{Ψ})};

Step3当前遍历属性m=Next(v);

Step4判断条件m=E,不满足则转至Step5;否则,转至Step8;

Step5判断节点搜索的约束条件,满足则转至Step6;否则,转至Step7;

Step6路径及数据更新;

Step7v=m,转至Step3;

Step8判断条件P=Ψ,不满足则转至Step9;否则,将集合C中的每一个二元组({Ψ}∪A,B)更新为(A,B),算法结束;

Step9进行节点回溯,集合C不改变,转至Step3;

算法结束后,即得到了两点间的全部路径,同时集合C中每一个二元组即为一个形式概念,即博客数据形式背景K:=(G,M,I)下的全部概念集β(G,M,I)=C∪{(Φ,g(Φ))}。

2.根据权利要求1所述的一种基于属性拓扑的博客数据的形式概念计算方法,其特征在于:在步骤6)的Step5中,所述节点搜索的约束条件判断步骤包括如下内容:(a)判断条件 Edge(m,xi)≠Φ,orEdge(xi,m)≠Φ,满足则转至步骤(b);否则,转至步骤(g);

(b)判断条件当前遍历属性m为伴生属性,满足则转至步骤(c);否则,转至步骤(g);

(c)判断条件 满足则转至步骤(d);否则,转至步骤(g);

(d)判断条件Pm=Φ,满足则转至步骤(e);否则,转至步骤(g);

m

(e)判断条件 orI∩Pi =Φ;满足则转至步骤(f),否则,转至步骤(g);

(f)判断条件g(I)∩g(m)≠Φ,满足则说明m满足节点搜索条件;不满足则转至步骤(g);

(g)m不满足节点搜索条件。

3.根据权利要求1所述的一种基于属性拓扑的博客数据的形式概念计算方法,其特征在于:在步骤6)的Step6中,所述路径和数据更新的步骤包括如下内容:(a)路径更新P′=PΛ{m},同时∠P′=∠P∩g(m),I′=I∪{m};

(b)判断条件∠P′=Edge(Last(I),m),满足则对原拓扑中Last(I)与m之间的边(单向边或者双向边)进行移除;否则,原拓扑保持不变;

(c)判断条件∠P′=∠P,满足则转至步骤(d);否则,转至步骤(e);

(d)将生成的二元组(∠P′,I′)替代集合C中的元素(As,Bs)并令Mark(Last(I))=1;其中,As=∠P,s≤l,Last(·)是有序集合的最后一个元素;

(e)将生成的二元组(∠P′,I′)加入到集合C中,即C=C∪{(∠P′,I′)}。

4.根据权利要求1所述的一种基于属性拓扑的博客数据的形式概念计算方法,其特征在于:在步骤6)的Step9中,所述节点回溯的步骤包括如下内容:(a)Mark(Last(I))=1,I=I-Last(I);

(b)判断条件Mark(Last(I))=0,不满足则转至步骤(c);否则,转至步骤(d);

(c)v=Last(I),I=I-Last(I),Mark(v)=0,转至步骤(b);

(d)m=Next(v)。