欢迎来到知嘟嘟! 联系电话:13336804447 卖家免费入驻,海量在线求购! 卖家免费入驻,海量在线求购!
知嘟嘟
我要发布
联系电话:13336804447
知嘟嘟经纪人
收藏
专利号: 2014102010563
申请人: 浙江省海洋水产研究所
专利类型:发明专利
专利状态:已下证
专利领域: 农业;林业;畜牧业;狩猎;诱捕;捕鱼
更新日期:2023-08-24
缴费截止日期: 暂无
价格&联系人
年费信息
委托购买

摘要:

权利要求书:

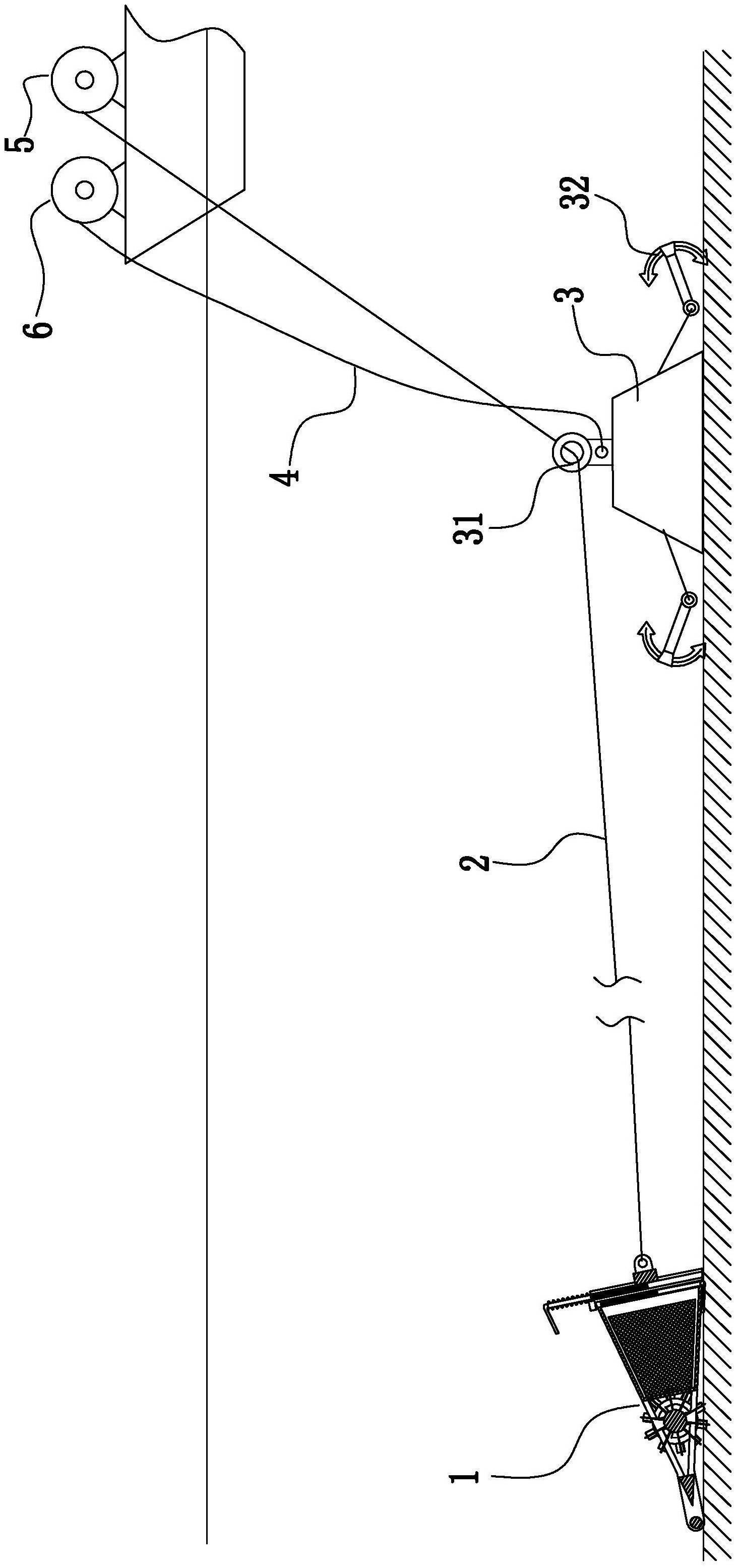
1.一种海洋底拖捕获器,其特征是,包括拖网箱(1),配重块(3),至少一个通过锁链安装在配重块上的固定锚(32),可转动设置在船体上的第一卷筒,用于驱动第一卷筒转动的第一转动装置,卷绕在第一卷筒上的拖拽绳(2),可转动设置在船体上的第二卷筒,用于驱动第二卷筒转动的第二转动装置及卷绕在第二卷筒上的下放绳(4);所述第一转动装置的输出轴与第一卷筒的转轴之间通过第一离合器相连接;所述第二转动装置的输出轴与第二卷筒的转轴之间通过第二离合器相连接;所述拖拽绳的自由端固定在拖网箱上;所述下放绳的自由端固定在配重块上,所述配重块上设有导向环(31),所述拖拽绳穿过导向环。

2.根据权利要求1所述的一种海洋底拖捕获器,其特征是,所述拖网箱为端部开口的V形拖网箱,V形拖网箱的端部开口构成采集入口(12),所述拖拽绳的自由端固定在靠近采集入口的V形箱体框架上;V形拖网箱的四个侧面中具有两个相互平行的第一侧面及两个相交呈V形的第二侧面,V形拖网箱包括构成V形拖网箱骨架的V形箱体框架(101)及构成V形拖网箱的四个侧面的网状隔层(102);所述V形拖网箱底部的V形箱体框架上设有平衡杆(10),且平衡杆与V形拖网箱的第一侧面相垂直;所述拖网箱的两第二侧面由采集入口往外延伸,并形成两块平行的端盖导板(13),且两端盖导板与平衡杆相垂直;两端盖导板的相对两侧面上分别设有相互平行并贯穿端盖导板的第一及第二导槽(14、15),且第一导槽位于采集入口与第二导槽之间,所述第一及第二导槽内分别可滑动的设有盖板(7),两盖板的宽度小于第一导槽的长度并大于等于1/2的第一导槽长度,且两盖板封遮所述的采集入口,两盖板与拖网箱之间分别设有自动开闭盖板机构(8),所述自动开闭盖板机构包括设置在盖板侧面上的两根与第一导槽相平行的推杆(81),分别设置在两推杆端部并与平衡杆相平行的压杆(82),分别设置在两压杆上、并与推杆相平行的导杆(84),套设在两导杆上的导向套(86)及设置在两导杆上的限位块(841);所述两推杆位于两压杆之间,所述拖网箱位于两导杆之间,所述两导向套固定在拖网箱上,所述两导杆上、位于压杆与导向套之间分别设有可使限位块抵靠在导向套上的复位弹簧(85)。

3.根据权利要求2所述的一种海洋底拖捕获器,其特征是,所述V形拖网箱中部的V形箱体框架上设有与平衡杆相平行的第一栅格状防护隔层(103),且第一栅格状防护隔层表面上设有过滤网;所述各网状隔层位于第一栅格状防护隔层与采集入口之间的V形箱体框架上,所述V形箱体框架上、位于第一栅格状防护隔层与平衡杆之间设有可使第一栅格状防护隔层上的过滤网保持畅通的防堵塞装置(9),该防堵塞装置包括通过转轴(93)可转动设置在V形箱体框架上的滚筒(94),若干设置在滚筒表面上的刷毛(95)及分别固定设置在滚筒两侧的转轴上的驱动轮(92),所述转轴与平衡杆相平行,所述刷毛沿转轴径向延伸,且第一栅格状防护隔层上的过滤网与转轴之间的间距小于刷毛端部与转轴之间的间距;所述两驱动轮位于V形箱体框架外侧,且两驱动轮的表面上周向均布由若干径向延伸的阻力板(91)。

4.根据权利要求2或3所述的一种海洋底拖捕获器,其特征是,所述转轴与阻力板端部之间的间距大于转轴与V形拖网箱的第二侧面之间的间距。

5.根据权利要求2或3所述的一种海洋底拖捕获器,其特征是,所述V形拖网箱的两第二侧面上的网状隔层均由设置在V形箱体框架上的第二栅格状防护隔层与设置在第二栅格状防护隔层内侧的过滤网构成;V形拖网箱的两第一侧面上的网状隔层直接由过滤网构成。

6.根据权利要求2或3所述的一种海洋底拖捕获器,其特征是,所述各压杆上分别设有压板,且压板与拖网箱的第二侧面相平行。

7.根据权利要求1或2或3所述的一种海洋底拖捕获器,其特征是,当限位块抵靠在导向套上时,所述的推杆位于采集入口外侧,推杆的长度等于1/2的第一导槽长度。

8.根据权利要求2或3所述的一种海洋底拖捕获器,其特征是,两第一导槽及第二导槽的两端分别设有压杆避让缺口。

9.根据权利要求1或2或3所述的一种海洋底拖捕获器,其特征是,包括设置在船体上的第一绞车(5)及第二绞车(6),第一绞车包括所述的第一卷筒,用于驱动第一卷筒转动的第一转动装置及所述的第一离合器,所述第一转动装置包括电动机及减速器,且该电动机与减速器输入轴之间设有制动器,所述第一转动装置的减速器的输出轴与第一卷筒的转轴之间通过第一离合器相连接;第二绞车包括所述的第二卷筒,用于驱动第二卷筒转动的第二转动装置及所述的第二离合器;所述第二转动装置包括电动机及减速器,且该电动机与减速器输入轴之间设有制动器,所述第二转动装置的减速器的输出轴与第二卷筒的转轴之间通过所述的第二离合器相连接。

10.一种权利要求1至9中任一权利要求所述的一种海洋底拖捕获器的捕获方法,其特征是,该捕获方法依次包括以下步骤:

A:通过船只将海洋底拖捕获器运送到指定的底栖生物采集海域;

B:第一离合器分离,并将拖网箱在其自重作用下通过拖拽绳下放到海底;

C:船只沿任一方向直行N1公里,在这个过程中拖拽绳将沿船只行进方向不断由第一卷筒上释放到海域中;

D:当船只直行N1公里后,船只停止行进;接着第二离合器分离,并将配重块及固定锚在其自重作用下通过下放绳下放到海底;

E:第一离合器接合,并将第一卷筒固定,防止第一卷筒转动;接着,船只沿C步骤中的行进方向直行,并通过拖拽绳带动拖网箱沿海底拖动,从而将底栖生物不断的捕获到拖网箱中;而在这个过程中下放绳将沿船只行进方向不断由第二卷筒上释放到海域中;

F:当船只行进N2公里后,且N2小于N1,船只停止行进;接着,第二离合器接合,并释放第一卷筒;再接着,第一及第二转动装置带动第一及第二卷筒转动,并通过拖拽绳及下放绳将拖网箱,配重块及固定锚提起。