欢迎来到知嘟嘟! 联系电话:13336804447 卖家免费入驻,海量在线求购! 卖家免费入驻,海量在线求购!
知嘟嘟
我要发布
联系电话:13336804447
知嘟嘟经纪人
收藏
专利号: 2014100355475
申请人: 西南交通大学
专利类型:发明专利
专利状态:已下证
专利领域: 测量;测试
更新日期:2024-01-05
缴费截止日期: 暂无
价格&联系人
年费信息
委托购买

摘要:

权利要求书:

1.一种隧道支护条件下膨胀土含水量与膨胀力关系的测试方法,其做法是:

A、取样部位荷载的测试

测出工程现场的取样部位上方的垂直荷载σ1及水平方向的荷载σ3;

B、试样制备

将所取土样采用静压法制成重塑的膨胀土试样(16),并在制备时记录膨胀土试样(16)的土颗粒质量ms、初始含水质量mw、体积V;

C、试样安装

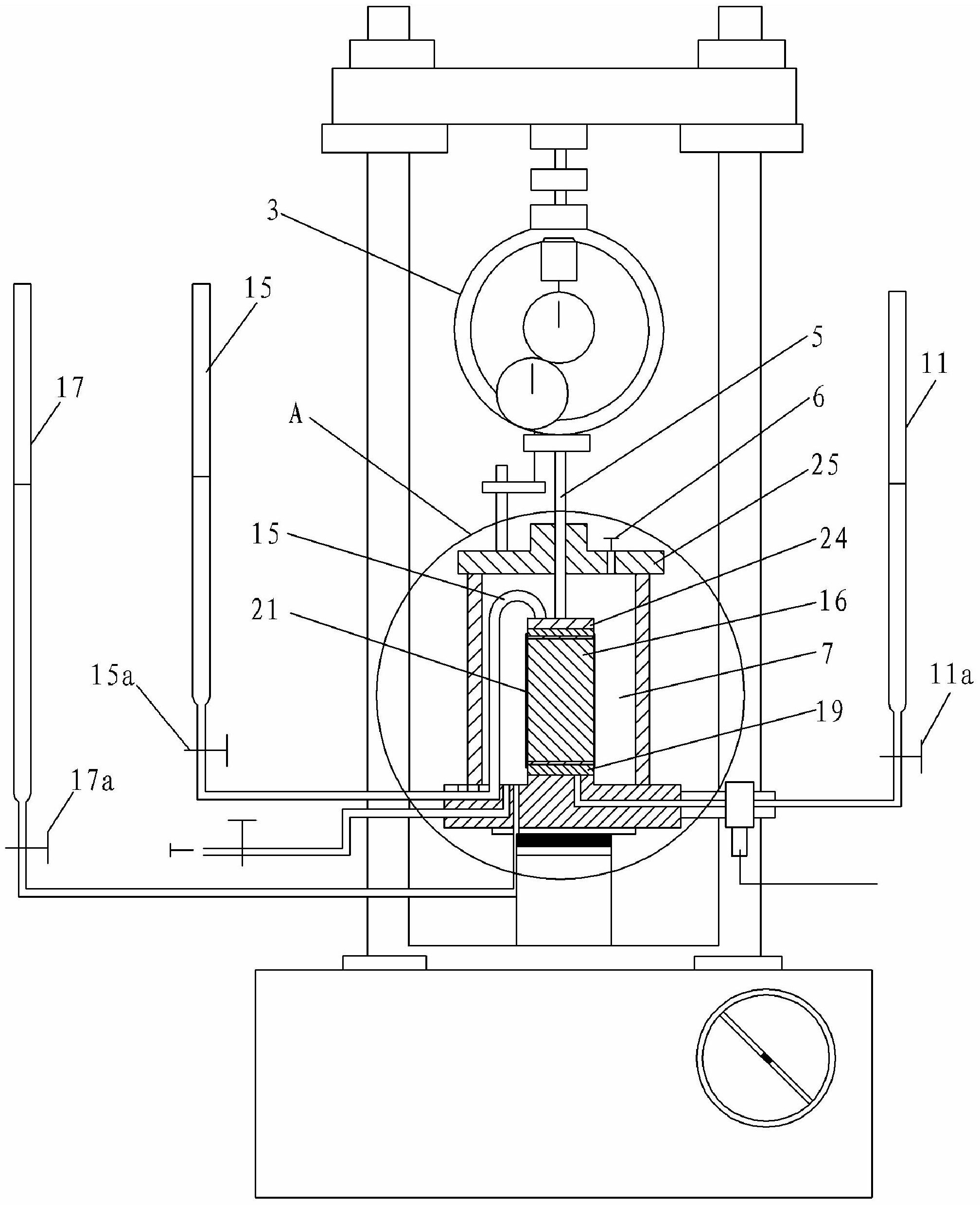
用橡皮膜(21)将膨胀土试样(16)的侧面包裹好,在应变式三轴仪的压力室(7)底座上依次放置不透水石一(19)、下滤纸(20)、膨胀土试样(16),然后在膨胀土试样(16)上部放置上滤纸(22)、不透水石二(23),试样帽(24);上排水管(15)的内端穿过试样帽(24)及不透水石二(23)与膨胀土试样(16)的顶部相连,外端穿出压力室(7);下排水管(11)的内端穿过不透水石一(19)与膨胀土试样(16)的底部相连,外端穿出压力室(7);最后在压力室(7)上部盖上压力室盖(25);

D、施加压力

拧开应变式三轴仪的压力室盖(25)上的排气阀(6),水压系统通过压力室(7)底座的进水孔(13)向压力室(7)注水,待压力室盖(25)上的排气阀(6)有水溢出时,关闭排气阀(6),调节水压系统的调压阀使压力室(7)内的水压等于A步测得的水平方向的荷载σ3;

转动加压手轮,使应变式三轴仪的穿过压力室盖(25)的活塞(5)的下端部通过试样帽(24)向膨胀土试样(16)加载,并通过与活塞(5)上端部相连的测力环(3)测出其加载的载荷△σ,当△σ=σ1-σ3时,保持该加载载荷;

E、进行试验

用吸耳球向应变式三轴仪的上排水管(15)和下排水管(11)注水,当两者的液面高于膨胀土试样(16)顶部后,打开上排水管(15)的阀门(15a)及下排水管(11)的阀门(11a),使上排水管(15)穿过试样帽(24)的内端向膨胀土试样(16)的顶部渗水,使下排水管(11)穿过不透水石一(19)的内端向膨胀土试样(16)的底部渗水;再打开与压力室(7)相连的体变管(17)的阀门(17a);

随后,读取并记录下列读数,然后,每隔一个测量周期又读取并记录一次下列读数:反映膨胀土试样(16)体积变化的体变管(17)的读数 反映膨胀土试样(16)顶部渗水量的上排水管(15)的读数 反映膨胀土试样(16)底部渗水量的下排水管(11)的读数 测力环(3)的读数△σ:其中,下标n为读取次数的序号;

直到上排水管(15)的读数 连续三次保持不变,且下排水管(11)的读数 也连续三次保持不变,结束试验;在试验过程中,当上、下排水管(15、11)的液面接近膨胀土试样(16)顶部时,即向其注水,使上、下排水管(15、11)的液面高出膨胀土试样(16)的顶部,以保证膨胀土试样(16)时刻处于吸水状态;同时,当读出的测力环(3)的读数△σ<σ1-σ3时,须转动加压手轮,增加活塞施加于试样上部的荷载△σ直至△σ=σ1-σ3时,保持该加载载荷;

F、数据处理

根据E步测出的体变管(17)的读数 上排水管(15)的读数 下排水管(11)的读数 计算得出:膨胀土试样(16)在三维受力情况下,连续性吸水过程中,第二次以后的每次读取读数时的含水量ωn, 及其对应的体积膨胀率ηn,再根据有限元计算得到每次读数时的体积膨胀率ηn和对应的膨胀力pn,最后根据每次读数时的含水量ωn和对应的膨胀力pn,拟合得出隧道支护条件下膨胀土含水量ω与膨胀力p的关系。