欢迎来到知嘟嘟! 联系电话:13336804447 卖家免费入驻,海量在线求购! 卖家免费入驻,海量在线求购!
知嘟嘟
我要发布
联系电话:13336804447
知嘟嘟经纪人
收藏
专利号: 2013107371949
申请人: 江苏大学
专利类型:发明专利
专利状态:已下证
专利领域: 测量;测试
更新日期:2024-02-26
缴费截止日期: 暂无
价格&联系人
年费信息
委托购买

摘要:

权利要求书:

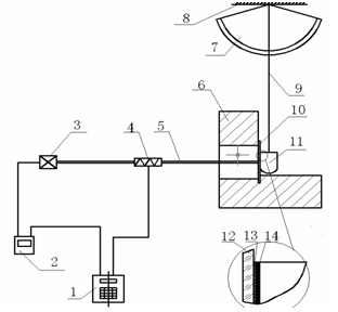
1.一种基于相对激光冲击强度的表征方法,其特征在于,采用标准靶材摆锤,在稳定激光系统和标准参数试验条件下,通过激光冲击摆锤,用此摆锤冲量的大小衡量作为标准P标准, 实际靶材激光冲击后冲量大小P实际,计算其相对激光冲击强度系数Δ=(P标准-P实际)/P标准,通过相对激光冲击强度系数Δ表征激光系统工作状态、不同靶材的相对激光冲击强度;选取一标准靶材,在激光系统稳定和参数相同的条件下,改变实际靶材材料后对比标准靶材所对应的冲量大小,计算其不同材料相对激光冲击强度系数Δ=(P标准-P实际)/P标准,通过对比相对激光冲击强度系数说明不同靶材对应激光冲击强度效果。

2.根据权利要求1所述的一种基于相对激光冲击强度的表征方法,其特征在于,调整好激光系统后不变,调整激光参数,发出不同能量的脉冲激光波作用于附有能量吸收层和约束层的摆锤上,使摆锤获得冲量,偏离平衡位置,通过高速相机拍摄重锤靶材的起始位置和最大摆角位置,测算出最大摆角,然后根据最大摆角由能量守恒定理计算出摆锤起始运动的冲量大小,用此冲量衡量其对应激光系统能量大小、激光系统状态的稳定连续性及激光系统的工作状态情况。

3.根据权利要求1所述的一种基于相对激光冲击强度的表征方法,其特征在于,安装靶材摆锤时,调整摆锤和定位支撑架位置,支撑架设有一内孔和一沟槽,内孔为激光冲击路径,沟槽放置约束层,摆锤与支撑架处于临界接触状态,确保摆锤的重心与激光冲击点重合和约束层的正确定位,使测量结果准确。

4.根据权利要求2所述的一种基于相对激光冲击强度的表征方法,其特征在于,所述能量吸收层为黑漆,所述约束层为K9透明玻璃,约束层与吸收层之间设有甘油。

5.根据权利要求3所述的一种基于相对激光冲击强度的表征方法,其特征在于,所述激光参数为:激光脉宽4ns~l0ns,能量0~200J,光束直径0.2 mm~20mm。