欢迎来到知嘟嘟! 联系电话:13336804447 卖家免费入驻,海量在线求购! 卖家免费入驻,海量在线求购!
知嘟嘟
我要发布
联系电话:13336804447
知嘟嘟经纪人
收藏
专利号: 2013105332441
申请人: 李先强
专利类型:发明专利
专利状态:已下证
专利领域: 天然或人造的线或纤维;纺纱或纺丝
更新日期:2024-02-23
缴费截止日期: 暂无
价格&联系人
年费信息
委托购买

摘要:

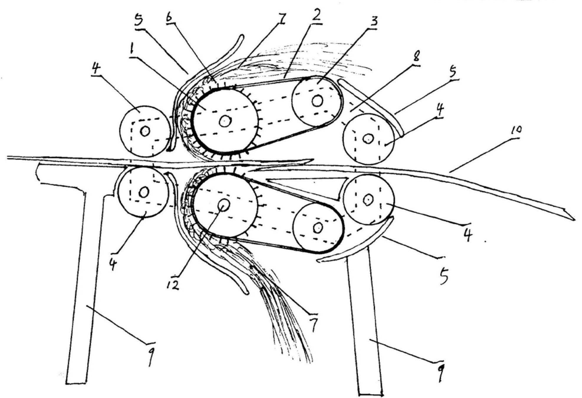
权利要求书:

1.黄麻批量脱皮机,其特征是:黄麻批量脱皮机主要由黄麻推进装置、黄麻脱皮装置、机体连接固定装置、动力装置构成,黄麻推进装置是由上下两个平行反向转动的滚辊把黄麻排状批量地推进脱皮装置中、又能把茎干拉出来的装置,黄麻脱皮装置是由上下两个平行反向转动的带针滚辊把到达的黄麻进行上下刮脱皮的装置,机体连接固定装置是用连接铁杆把各个装置进行连接固定的装置,动力装置就是燃油动力机或电动机。