欢迎来到知嘟嘟! 联系电话:13336804447 卖家免费入驻,海量在线求购! 卖家免费入驻,海量在线求购!
知嘟嘟
我要发布
联系电话:13336804447
知嘟嘟经纪人
收藏
专利号: 2013104858981
申请人: 浙江大学台州研究院
专利类型:发明专利
专利状态:已下证
专利领域: 机床;其他类目中不包括的金属加工
更新日期:2023-08-24
缴费截止日期: 暂无
价格&联系人
年费信息
委托购买

摘要:

权利要求书:

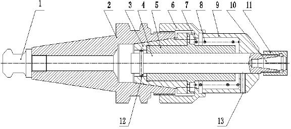
1.一种旋转刮削刀具,其特征在于:包括刀柄,刀柄的前端与连接套固定连接;连接套内活动设置有刀杆;连接套通过滑动轴承实现与刀杆的活动连接;

刀杆的前端从调节套伸出,刀杆的前端设置有弹性夹筒;弹性夹筒用于夹持旋转刮刀;

通过锁紧螺母实现刀杆与旋转刮刀的固定连接;

刀杆的后端沿径向固定穿设有滑动销轴,滑动销轴的两端抵住连接套的内孔壁;

刀杆能够带动其上的滑动销轴在滑动轴承内沿轴向滑动;

机床主轴旋转带动刀柄及连接套旋转,连接套的旋转通过滑动销轴带动刀杆及旋转刮刀同步旋转;旋转刮刀刀刃与加工面接触,实现对加工面的旋转刮削。

2.根据权利要求1所述的旋转刮削刀具,其特征在于:所述刀杆通过紧定螺钉实现与调节套的径向固定连接;

调节套的内端面与滑动轴承的前端面之间设置有调节弹簧,实现旋转刮削时的弹性变形;

通过紧定螺钉调节调节套与滑动轴承之间的轴向相对距离,从而对调节弹簧的弹性大小进行调整。

3.根据权利要求1所述的旋转刮削刀具,其特征在于:所述刀柄的后端固定设置有拉钉。

4.根据权利要求1所述的旋转刮削刀具,其特征在于:所述刀柄与连接套的配合面为锥面。

5.根据权利要求1所述的旋转刮削刀具,其特征在于:所述连接套与刀柄通过连接螺母实现锁紧连接。

6.根据权利要求1所述的旋转刮削刀具,其特征在于:所述滑动轴承的外圆与连接套的内孔相配合。

7.根据权利要求1所述的旋转刮削刀具,其特征在于:所述连接套的端面与滑动轴承通过连接螺钉固定连接成一体。

我要求购
我不想找了,帮我找吧
您有专利需要变现?
我要出售
智能匹配需求,快速出售