欢迎来到知嘟嘟! 联系电话:13336804447 卖家免费入驻,海量在线求购! 卖家免费入驻,海量在线求购!
知嘟嘟
我要发布
联系电话:13336804447
知嘟嘟经纪人
收藏
专利号: 2013104836164
申请人: 衡阳师范学院
专利类型:发明专利
专利状态:已下证
专利领域: 测量;测试
更新日期:2024-01-05
缴费截止日期: 暂无
价格&联系人
年费信息
委托购买

摘要:

权利要求书:

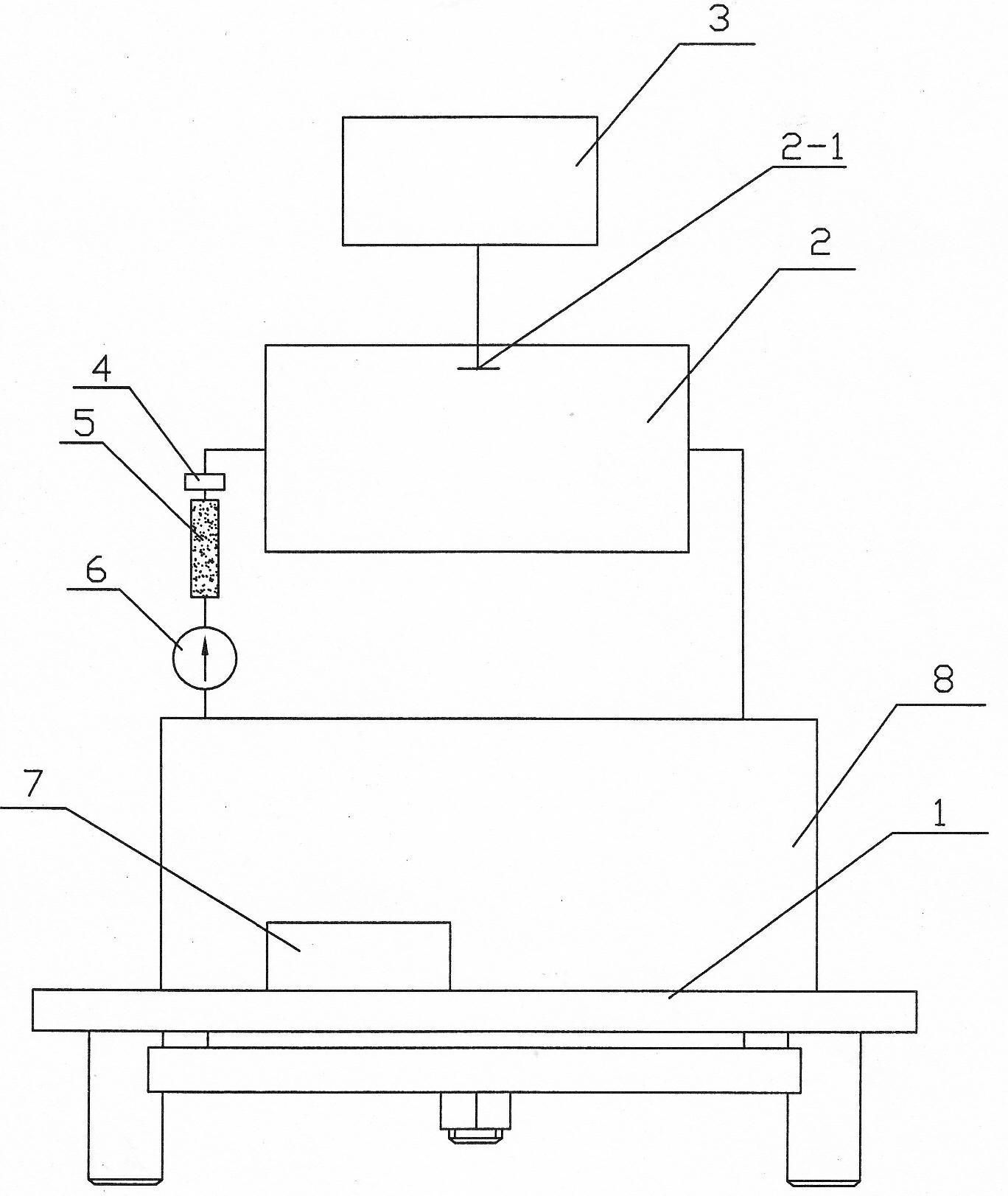
1.一种任意调节氡析出率及有效衰变常数的方法,其特征是:测量过程中,将固体氡源放置在调节装置的面板上,将现有测量装置中的开口集氡罩扣在调节装置的面板上,调节装置的面板上设有复数个小孔,通过控制小孔的开、闭来调节有效衰变常数,通过使用不同源强的固体氡源来调节氡析出率;

设调节装置的面板上的小孔为N个,孔径为0.1mm-1mm,每个小孔的泄露系数为 ,如有n 个小孔被封堵,则有效衰变常数为:(4)。

2.根据权利要求1所述的一种任意调节氡析出率及有效衰变常数的方法,其特征是:所述的调节装置包括面板和调节板;

所述的面板底面的中心设有螺杆,螺杆固定在面板上,面板底面的四个边角上分别设有支脚,支脚固定在面板上,在面板上设有复数个小孔,复数个小孔以螺杆的轴线为中心,等距离呈半圆弧形分布在面板上;

所述的调节板的中心设有螺杆孔,在调节板一边的面板上分别粘结有半圆环形的橡胶密封条和半圆环形的橡胶垫,橡胶密封条和橡胶垫的高度一样,调节板旋转时,橡胶垫不能遮盖面板上的小孔;

安装时,通过螺母将调节板固定在面板的底面,并通过调节板上的半圆环形橡胶密封条将面板上的小孔封闭,转动调节板,能控制面板上小孔的开、闭来调节有效衰变常数。

3.根据权利要求2所述的一种任意调节氡析出率及有效衰变常数的方法,其特征是:为了在操作时准确确定调节装置面板上小孔的开、闭数量,在面板的底面设有计数标记,在调节板的面板上设有箭头标记,面板上小孔为N个,计数标记为0~N个,当箭头标记对准计数标记中的0,表示面板上的小孔全部封闭,当箭头标记对准计数标记中的1,表示打开一个小孔,以此类推。

4.根据权利要求1所述的一种任意调节氡析出率及有效衰变常数的方法,其特征是:用密闭的集氡罩替代一面开口的集氡罩,将固体氡源放置在密闭的集氡罩内进行测量,采用密闭的集氡罩内进行测量时,去掉调节装置上的四个支脚,将调节装置直接固定安装在密闭的集氡罩的侧板上,调节装置面板上的小孔与密闭的集氡罩内腔相通。