欢迎来到知嘟嘟! 联系电话:13336804447 卖家免费入驻,海量在线求购! 卖家免费入驻,海量在线求购!
知嘟嘟
我要发布
联系电话:13336804447
知嘟嘟经纪人
收藏
专利号: 2013104284582
申请人: 华侨大学
专利类型:发明专利
专利状态:已下证
专利领域: 测量;测试
更新日期:2024-01-05
缴费截止日期: 暂无
价格&联系人
年费信息
委托购买

摘要:

权利要求书:

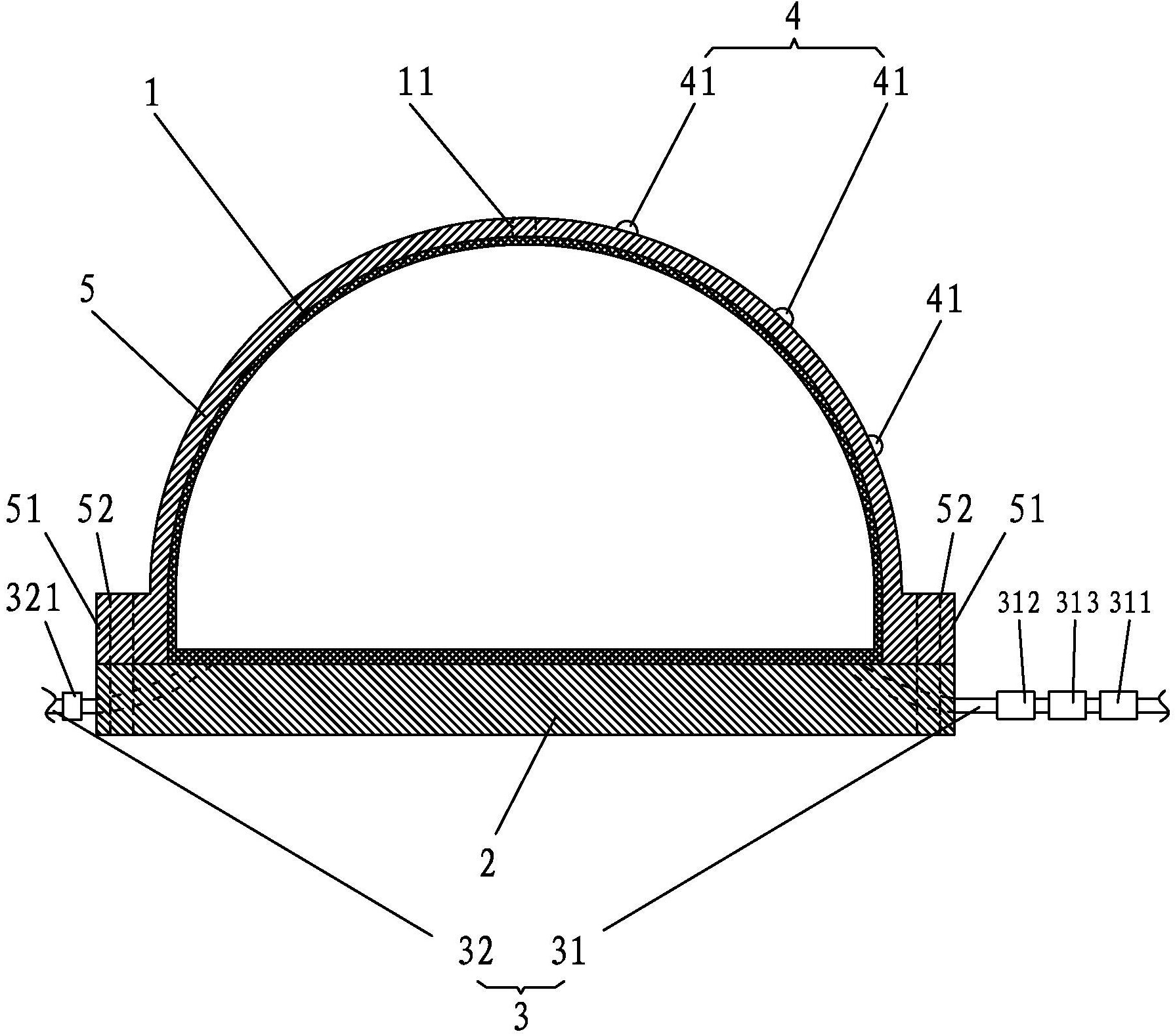
1.一种混凝土半球壳的新型极限内压力测试装置,其特征在于:包括胀设于混凝土半球壳内的胶囊,封挡于混凝土半球壳开口处的封挡装置,对胶囊进行加压膨胀的加压装置,设于混凝土半球壳上检测混凝土半球壳形变量的形变检测装置,和与加压装置和形变检测装置以信号传输的方式连接以采集并处理混凝土半球壳内部压力和形变数据的数据采集处理装置。

2.根据权利要求1所述的一种混凝土半球壳的新型极限内压力测试装置,其特征在于:上述加压装置包括与上述胶囊连通的注水管道和泄水管道;所述注水管道具有水流水压调节泵、水压检测表和单向注水阀门,上述数据采集处理装置与所述水压检测表以信号传输的方式连接在一起;所述泄水管道具有单向泄水阀门。

3.根据权利要求2所述的一种混凝土半球壳的新型极限内压力测试装置,其特征在于:上述水流水压调节泵包括电动试压泵和手动试压泵。

4.根据权利要求1、2或3所述的一种混凝土半球壳的新型极限内压力测试装置,其特征在于:上述胶囊呈与混凝土半球壳相应的半球形。

5.根据权利要求4所述的一种混凝土半球壳的新型极限内压力测试装置,其特征在于:上述胶囊的弧顶处设有排气孔。

6.根据权利要求5所述的一种混凝土半球壳的新型极限内压力测试装置,其特征在于:上述形变检测装置包括多个布设于混凝土半球壳上用于检测相应处在预设方向上相对位移的差动式位移传感器,上述数据采集装置与各所述差动式位移传感器以信号传输的方式连接在一起。

7.根据权利要求6所述的一种混凝土半球壳的新型极限内压力测试装置,其特征在于:上述封挡装置为与混凝土半球壳边缘固定连接并与地锚连接在一起的混凝土底板。

8.根据权利要求7所述的一种混凝土半球壳的新型极限内压力测试装置,其特征在于:上述混凝土底板形成有分别供上述注水管道和泄水管道匹配穿过的通孔。

9.一种基于权利要求1-8中任一项所述的混凝土半球壳的新型极限内压力测试装置的测试方法,其特征在于,采用如下步骤:

(1)根据测试要求制作相应壁厚和半径的混凝土半球壳试件和上述封挡装置;

(2)将上述胶囊置于制作完成的上述混凝土半球壳试件内,将上述加压装置与所述胶囊安装在一起,用上述封挡装置封挡住所述混凝土半球壳试件的开口,并将所述混凝土半球壳试件与所述封挡装置固定连接在一起;将上述形变检测装置安装于所述混凝土半球壳试件的表面;将上述数据采集处理装置分别与所述加压装置和所述形变检测装置以信号传输的方式连接在一起;

(3)利用上述加压装置对上述胶囊进行加压膨胀;运行上述形变检测装置和数据采集处理装置;利用所述加压装置对所述胶囊进行持续加压膨胀直至上述混凝土半球壳试件破坏,利用上述数据采集处理装置对整个过程中采集的压力信号和形变数据信号进行分析处理。

10.根据权利要求9所述的一种测试方法,其特征在于:在上述步骤(1)中通过支模和浇筑方法制作上述混凝土半球壳试件,在所述混凝土半球壳试件的边缘一体形成有与上述封挡装置相连接的延伸连接部,并在此延伸连接部上布设多个螺栓孔一;采用上述混凝土底板形式的封挡装置,通过单独支模和浇筑方法制作,形成上述通孔,并对应各所述螺栓孔一设置多个螺栓孔二;

在上述步骤(2)中,在预定位置设置多个与各上述螺栓孔二相对应的地锚孔以形成地锚,将上述混凝土底板置于地锚上,并使各所述螺栓孔二与各所述地锚孔相对应;准备上述胶囊并安装,保证所述胶囊在注水加压后的体积和形状能充满整个上述混凝土半球壳试件的内部,将上述注水管道和泄水管道分别通过上述通孔进行安装;将上述水压检测表、电动试压泵、手动试压泵和单向注水阀门与上述注水管道安装在一起,并将所述水压检测表与上述数据采集处理装置以信号传输的方式连接在一起;将上述单向泄水阀门与上述泄水管道安装在一起;打开上述排气孔,关闭所述泄水管道,利用上述电动试压泵对所述胶囊进行注水加压,使所述胶囊注满水,不留褶皱,然后关闭所述排气孔,之后将所述混凝土半球壳试件的各上述螺栓孔一与各所述螺栓孔二和各所述地锚孔相对应,通过螺栓将所述混凝土半球壳试件、混凝土底板形式的封挡装置与地锚锁固在一起;上述形变检测装置采用多个上述差动式位移传感器,将多个所述差动式位移传感器布设于所述混凝土半球壳试件上的各位移待测点处,并将各所述差动式位移传感器与数据采集处理装置以信号传输的方式连接在一起;

在上述步骤(3)中,上述加压装置对上述胶囊进行加压包括两个阶段,先利用上述电动试压泵对所述胶囊进行第一阶段注水加压,一段时间后,并在上述混凝土半球壳试件破裂前,利用手动试压泵对所述胶囊进行第二阶段注水加压,直至上述混凝土半球壳试件破坏;

在上述步骤(1)中制作多个壁厚和半径不同的混凝土半球壳试件,并重复上述步骤分别对各混凝土半球壳试件进行测试,利用上述数据采集处理装置对所有数据进行分析处理。