欢迎来到知嘟嘟! 联系电话:13336804447 卖家免费入驻,海量在线求购! 卖家免费入驻,海量在线求购!
知嘟嘟
我要发布
联系电话:13336804447
知嘟嘟经纪人
收藏
专利号: 2013103486996
申请人: 浙江工业大学
专利类型:发明专利
专利状态:已下证
专利领域: 测量;测试
更新日期:2023-08-24
缴费截止日期: 暂无
价格&联系人
年费信息
委托购买

摘要:

权利要求书:

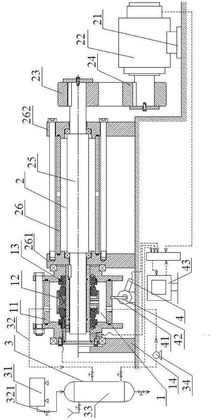
1.一种液体润滑机械密封密封性能的测试装置,其特征在于:包括密封装置、驱动装置、辅助装置、测试装置,所述的密封装置包括带有密封液进出口的密封腔体、安装在密封腔体内的动组件、静组件,所述的动组件包括动环座、实验密封动环、辅助密封动环,所述的实验密封动环、辅助密封动环安装在转轴的轴套上;所述的静组件包括静环端盖、辅助静环端盖、实验密封静环以及辅助密封静环,所述的实验密封静环、所述的辅助密封静环分别与密封腔体两端的静环端盖和辅助静环端盖固定,并且所述的实验密封静环与所述的实验密封动环的端面接触面、所述的辅助密封静环与所述的辅助密封动环的端面接触面均位于所述的密封腔体内部;所述的静环端盖和所述的辅助静环端盖分别固定在第一轴承座、第二轴承座上;所述的实验密封静环上开有接漏口和测温孔;

所述的驱动装置包括支架、电机、同步带轮、同步带、转轴和轴承箱,所述电机固定于支架上,所述电机的输出轴通过同步带轮和同步带与贯穿轴承箱的转轴连接;所述的电机通过电机变频器与计算机连接;

所述的辅助装置包括压缩机、高压管、储液罐和循环泵,所述的压缩机通过高压管与储液罐相连,所述的储液罐进出口通过高压管和循环泵与所述的密封腔体的进出口相连接;

所述的测试装置包括传力杆、压力传感器、热电偶传感器、电子天平和上述的计算机,所述的传力杆一端固定于密封腔体上、另一端与位于所述的密封腔体下方的压力传感器相接触;所述的热电偶传感器位于所述的实验密封静环的测温孔处;所述的压力传感器、热电偶传感器和电子天平分别与所述的计算机连接。

2.如权利要求1所述的一种液体润滑机械密封密封性能的测试装置,其特征在于:所述的密封腔体内安装两套动组件和静组件组成的密封结构。

3.如权利要求2所述的一种液体润滑机械密封密封性能的测试装置,其特征在于:所述的轴承箱的两端安装带有轴承的第二轴承座和第三轴承座,所述的转轴通过所述的第二轴承贯穿安装在第二轴承座和第三轴承座的轴承上。

4.如权利要求3所述的一种液体润滑机械密封密封性能的测试装置,其特征在于:所述的实验密封静环背面的测温孔至离密封端面1mm。

5.如权利要求2所述的一种液体润滑机械密封密封性能的测试装置,其特征在于:所述密封腔体通过螺栓与静环密封端盖和辅助静环密封端盖连接,形成可拆卸型结构。

6.如权利要求5所述的一种液体润滑机械密封密封性能的测试装置,其特征在于:所述的第一轴承座与所述的第二轴承座、第三轴承座通过螺钉固定在两条水平滑轨上,密封腔体的水平中心轴与所述的转轴的中心轴重合。