欢迎来到知嘟嘟! 联系电话:13336804447 卖家免费入驻,海量在线求购! 卖家免费入驻,海量在线求购!
知嘟嘟
我要发布
联系电话:13336804447
知嘟嘟经纪人
收藏
专利号: 2013100676363
申请人: 太仓市车中宝休闲用品有限公司
专利类型:发明专利
专利状态:已下证
专利领域: 无轨陆用车辆
更新日期:2024-02-23
缴费截止日期: 暂无
价格&联系人
年费信息
委托购买

摘要:

权利要求书:

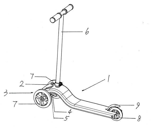
1.一种铝型材和塑料结合的摆把拐弯式滑板车,包括车身、转向基座、两转向件、连杆、双圈扭簧、车把、两前轮、后轮和后轮罩,其特征是:车身包括型材车梁、车把连接头和两后闷盖,型材车梁是用两边成管形的铝型材制成,型材车梁的前部成波状弯曲、波状弯曲的顶部焊接车把连接头,型材车梁的前端冲有圆弧口和两孔,型材车梁的后端的中间冲有槽型开口、并在型材车梁两管形的后端开有相互的对穿孔,两后闷盖塞入型材车梁的两管形的管孔中,后轮通过对锁螺栓与型材车梁两管形的后端相互的对穿孔连接,后轮罩通过螺栓螺母安装于型材车梁后部;转向基座是塑料注塑件,转向基座的两边有两连接头、两连接头的竖向带对穿孔,转向基座两连接头之间有两连接双圈扭簧的向下的突圈,转向基座有两向后的连接桩,两连接桩之间的转向基座上还有一圆弧形凸唇,圆弧形凸唇的边沿带槽、圆弧形凸唇上带两螺栓孔,将转向基座的两连接桩塞入到型材车梁前端的两管形的管孔中,将转向基座圆弧形凸唇的边沿槽对应型材车梁的圆弧口、并将圆弧形凸唇上的两螺栓孔对应型材车梁前端的两孔,用两自攻螺栓将转向基座和型材车梁定位;转向件是金属圆杆件和塑料配件的组合件,金属圆杆件成L型、L型的两端带螺纹孔,将金属圆杆件L型的竖杆穿入塑料配件的孔中,将金属圆杆件L型的横杆嵌入塑料配件的∩形槽中,即拼成转向件,转向件的塑料配件后底部还带有向下的突圈,两转向件分左右成对设置,将左、右转向件金属圆杆件的竖杆穿入转向基座两连接头的对穿孔中、并用两螺栓配两垫片拧接在左、右转向件金属圆杆件顶端,使左、右转向件与转向基座的两连接头转动连接;连杆是两头各带一孔、中部有两与两头的孔垂向的双圈扭簧的连接孔,连杆两头的孔转动套接于左、右转向件塑料配件的突圈上,并用自攻螺栓和垫片定位,双圈扭簧的两头穿入连杆上双圈扭簧的连接孔中,双圈扭簧的双全套接于转向基座两向下的突圈上,并用自攻螺栓和垫片定位;将左、右转向件金属圆杆件的横杆上各套接一前轮,并用两螺栓拧接在左、右转向件金属圆杆件的外端,车把连接头上连接车把,车把是一横管和一竖管焊接成丁字形、竖管的底部有一开缝、竖管的底部连接一管夹。

2.根据权利要求1所述的铝型材和塑料结合的摆把拐弯式滑板车,其特征是:所述的型材车梁的前部成波状弯曲、波状弯曲的顶部有开孔,所述的车把连接头是一段短圆管的一侧连接一露头的销钉、一段短圆管的底部焊接有矩形铝片的部件,所述车把连接头下部与所述型材车梁波状弯曲的顶部的开孔焊接,所述车把连接头底部的矩形铝片与所述型材车梁两边的管形焊接,所述型材车梁槽型开口的靠前有一孔,所述的后闷盖塞是塑料件,所述后闷盖塞上有穿孔,所述后闷盖塞的外径与所述型材车梁两边管形的内径相匹配,所述后闷盖塞的穿孔与所述型材车梁两管形后端的对穿孔相匹配。

3.根据权利要求1所述的铝型材和塑料结合的摆把拐弯式滑板车,其特征是:左塑料配件前部有上下向的孔,左塑料配件的底部、在上下向孔的下部向左面有一∩形的槽,将所述金属圆杆件L型的竖杆穿入到左塑料配件的孔中,并将所述金属圆杆件L型的横杆嵌入到左塑料配件的∩形槽中即可拼成左转向件,右塑料配件前部有上下向的孔,右塑料配件的底部、在上下向孔的下部向右面有一∩形的槽,将所述金属圆杆件31L型的竖杆穿入到右塑料配件的孔中,并将所述金属圆杆件L型的横杆嵌入到右塑料配件的∩形槽中即可拼成右转向件。

4.根据权利要求1所述的铝型材和塑料结合的摆把拐弯式滑板车,其特征是:所述的连杆是塑料注塑件。

5.根据权利要求1所述的铝型材和塑料结合的摆把拐弯式滑板车,其特征是:所述的车把的管夹是带有一快拆的管夹,快拆用于将管夹收紧所述车把竖管的开缝与所述车把连接头的抱接,所述竖管的开缝与所述车把连接头上露头的销钉相对应。

6.根据权利要求1所述的铝型材和塑料结合的摆把拐弯式滑板车,其特征是:所述的前轮和所述的后轮,是塑料轮毂的PU轮、中间的两侧各镶嵌一轴承,两所述的前轮套接于左、右转向件的所述金属圆杆件的横杆上,并用两螺栓拧接于左、右转向件的所述金属圆杆件横杆外端的螺纹孔中定位,所述的后轮通过对锁螺栓连接于所述型材车梁两管形后端相互的对穿孔中。

7.根据权利要求1所述的铝型材和塑料结合的摆把拐弯式滑板车,其特征是:所述的后轮罩是塑料轮罩的顶部内侧带有横向的条纹,所述后轮罩前端的有一孔,所述后轮罩的前端孔对应于所述型材车梁槽型开口的靠前孔,并用螺栓螺母对拧连接。