欢迎来到知嘟嘟! 联系电话:13336804447 卖家免费入驻,海量在线求购! 卖家免费入驻,海量在线求购!
知嘟嘟
我要发布
联系电话:13336804447
知嘟嘟经纪人
收藏
专利号: 2013100104241
申请人: 浙江大学台州研究院
专利类型:发明专利
专利状态:已下证
专利领域: 测量;测试
更新日期:2023-08-24
缴费截止日期: 暂无
价格&联系人
年费信息
委托购买

摘要:

权利要求书:

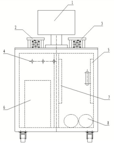
1.一种气动比例压力阀试验装置,其特征在于:包括试验台,试验台上设置有两个阀试验工装(2、3),阀试验工装(2、3)上分别设置有多个传感器,传感器用于采集比例压力阀的流量信号和压力信号;试验台上还设置有显示器(1),显示器(1)通过电缆线连接主机(6);主机(6)上设置有数据采集卡,数据采集卡的输入端口通过信号线分别连接阀试验工装(2、3)上的传感器;

数据采集卡的输出端口通过信号线连接控制电路组件(7);

控制电路组件(7)通过信号线连接气路组件(5);气路组件(5)连接负载气瓶(8),负载气瓶(8)用于模拟负载;

控制电路组件(7)设置有直流电源输出模块,用于提供比例压力阀的输入电流;控制电路组件(7)设置有电源开关(4);

设置于阀试验工装(2、3)上的传感器采集试验数据并传送至数据采集卡,数据采集卡通过输出端口输出信号对控制电路组件(7)的继电器开关和控制节流阀(514)进行控制;

控制电路组件(7)的继电器开关控制电磁阀的开关,电磁阀控制气路组件(5)的截止阀的动作以及阀试验工装(2、3)的气缸(203)的动作;控制节流阀(514)接收数据采集卡的电信号控制阀口开闭大小。

2.根据权利要求1所述的气动比例压力阀试验装置,其特征在于:所述阀试验工装(2、

3)包括连接底板(201),连接底板(201)通过支柱(202)连接工作台面(206);支柱(202)穿过工作台面(206)后与顶板(208)连接;

连接底板(201)上设置所述气缸(203),气缸(203)的活动端连接气路块(204);气路块(204)与工作台面(206)固定连接;工作台面(206)用于安装待测的比例压力阀(207);

气路块(204)上设置有排气孔(212)、出气孔(213),比例压力阀(207)的工作口连接出气孔(213),出气孔(213)通过管线连接负载气瓶(8);比例压力阀(207)的排气口连接排气孔(212);顶板(208)上设置有进气口(214),进气口(214)通过过滤器与气源相连,为比例压力阀(207)提供稳定的压力源;工作时,进气口(214)连通比例压力阀(207)的进气孔;

气路块(204)的两端分别设置有管接头(211);

负载气瓶(8)通过另一管线连接排气孔(212),排气孔(212)经管线与管接头(211)相连,进行排气。

3.根据权利要求2所述的气动比例压力阀试验装置,其特征在于:所述工作台面(206)的一端设置有定位安装块(210);定位安装块(210)能够在气缸(203)动作之前根据比例压力阀的尺寸调节距离,确保比例压力阀的各气孔对准气路块(204)上的各气孔,以保证比例压力阀正常工作。

4.根据权利要求2所述的气动比例压力阀试验装置,其特征在于:所述进气口(214)、排气孔(212)、出气孔(213)和管接头(211)处设置有密封圈防止泄露以保证密封。

5.根据权利要求1或2所述的气动比例压力阀试验装置,其特征在于:所述气路组件(5)为两套,分别与两个阀试验工装(2、3)连接;每套气路组件(5)包括气源(501),气源(501)经过滤器(502)连接上游管线,通过上游管线的第一截止阀(503)连接比例压力阀(207);比例压力阀(207)的上游设置有入口压力传感器(504);

比例压力阀(207)的工作口通过试验台的出气孔(213)和下游管线连接控制节流阀(514)、流量传感器(508)、出口压力传感器(507),下游管线上并联有消声器(510)、气罐(512),消声器(510)所在支路上设置有第四截止阀(509),气罐(512)所在支路上设置有第三截止阀(511);

比例压力阀(207)的排气口通过试验台的排气孔(212)与设置于下游管线上的消音器(506)连接;消音器(506)所在支路上设置有第二截止阀(513)。

6.根据权利要求5所述的气动比例压力阀试验装置,其特征在于:所述控制电路组件(7)发送信号至气缸(203),气缸(203)接收到信号后开始动作,气缸(203)带动气路块(204)上移,从而带动设置于工作台面(206)上的比例压力阀(207)动作,使比例压力阀(207)顶压在顶板(208)上,比例压力阀(207)的进气口即与试验台上的进气口(214)连通;

来自气源(501)的气体经过滤器(502)的净化后为比例压力阀(207)提供干净稳定的气源;

气路中的各截止阀(503、509、511、513)接收到控制电路组件(7)的继电器的电信号进行动作,控制节流阀(514)接收数据采集卡的电信号进行动作,流量传感器(508)、压力传感器(504、507)将采集到的数据分别传回给主机(6)。

7.根据权利要求5所述的气动比例压力阀试验装置,其特征在于:所述气动比例压力阀试验装置测试比例压力阀的电流-压力特性的方法为:打开第一截止阀(503)、第二截止阀(513)、第三截止阀(511),关闭第四截止阀(509),将供气压力稳定在额定输入压力,并将控制节流阀(514)阀口完全开放;向比例压力阀(207)施加从零到最高的电流,记录出口压力传感器(507)的出口压力值;再将电流由最高减为零,记录出口压力传感器(507)的出口压力值,记录电流和压力值并绘制比例压力阀的电流-压力特性曲线。

8.根据权利要求5所述的气动比例压力阀试验装置,其特征在于:所述气动比例压力阀试验装置测试输入阶跃响应特性的方法为:打开第一截止阀(503)、第三截止阀(511),关闭第二截止阀(513)、第四截止阀(509),通过入口压力传感器(504)读取进口压力数值;向比例压力阀(207)施加预定信号,当比例压力阀的阀口打开,气体经比例压力阀的工作口进入负载气瓶(8);通过出口压力传感器(507)读取出口压力值,通过流量传感器(508)记录流过的流量;主机(6)记录压力、流量变化和比例压力阀的响应时间;试验结束后,先关闭第一截止阀(503),切断气源,再打开第四截止阀(509),使气罐(512)中的气体排到空气中,消声器(510)可以降低排气时的噪音;

并同时打开第二截止阀(513),将阀中多余气体的排入大气。

9.根据权利要求5所述的气动比例压力阀试验装置,其特征在于:所述气动比例压力阀试验装置进行压力-流量特性试验的方法为:打开第一截止阀(503)、第二截止阀(513)、第四截止阀(509),关闭第三截止阀(511);

将供气压力稳定在额定输入压力,为被测比例压力阀施加电流,稳定后记录比例压力阀的出口压力值;调节控制节流阀(514),使流量从零增加到最大值,同时记录流量传感器(508)的流量值和比例压力阀的出口压力值;再将流量从最大值减小到零,同时记录流量值和比例压力阀的出口压力值,并绘制比例阀的压力-流量特性曲线。

10.根据权利要求5所述的气动比例压力阀试验装置,其特征在于:所述气动比例压力阀试验装置进行耐久性试验的方法为:打开第一截止阀(503)、第二截止阀(513),关闭第三截止阀(511)、第四截止阀(509);

将供气压力稳定在额定输入压力,并将控制节流阀(514)阀口完全开放;使被测比例压力阀的输入电流周期性变化,以使比例压力阀的阀口以设定的动作频率周期性地开闭;在测试过程中对比例压力阀的进出口压差进行周期性自检,当检测到压差出现异常或者完成设定的动作次数后停止测试,并对被测比例压力阀进行失效分析,记录比例压力阀的正常开闭次数,即为比例压力阀的寿命。

11.根据权利要求5所述的气动比例压力阀试验装置,其特征在于:所述气动比例压力阀试验装置进行密封性试验的方法为:打开第一截止阀(503)、第二截止阀(513),关闭第三截止阀(511)、第四截止阀(509),将供气压力稳定在额定输入压力,并将控制节流阀(514)阀口完全开放;为被测比例压力阀施加电流,稳定后测得比例压力阀的出口压力值,经过保压预定时间后,再次读取比例压力阀的出口压力值,由于泄漏,两次压力值存在差值,根据此差值计算比例压力阀的泄漏量。

我要求购
我不想找了,帮我找吧
您有专利需要变现?
我要出售
智能匹配需求,快速出售