欢迎来到知嘟嘟! 联系电话:13336804447 卖家免费入驻,海量在线求购! 卖家免费入驻,海量在线求购!
知嘟嘟
我要发布
联系电话:13336804447
知嘟嘟经纪人
收藏
专利号: 2012105372694
申请人: 浙江海洋学院
专利类型:发明专利
专利状态:已下证
专利领域: 农业;林业;畜牧业;狩猎;诱捕;捕鱼
更新日期:2024-01-05
缴费截止日期: 暂无
价格&联系人
年费信息
委托购买

摘要:

权利要求书:

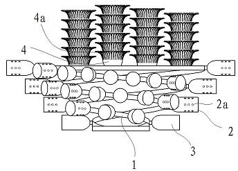
1.一种海洋浮游生物的附着组件,其特征是,包括两个旋向相同的螺旋单体(1)构成的双螺旋形的支架,所述的螺旋单体(1)在竖直方向上从上到下曲率半径逐渐减小,所述的支架上设有若干利用塑料瓶制成的外瓶体(2),所述的外瓶体水平布置且底部贯通,所述外瓶体(2)通过瓶口的螺纹与螺旋单体(1)螺纹连接,所述的支架上设有底部开口、瓶口封闭的孢子瓶(3),所述的孢子瓶(3)中设有若干孢子室(33)以及将相邻孢子室分隔的铁片,所述的孢子室含有海藻培养基和海藻孢子。

2.根据权利要求1所述的一种海洋浮游生物的附着组件,其特征是,所述的铁片(31)中心处的厚度为0.15至0.4mm,所述铁片(31)中心处的厚度小于边缘处的厚度。

3.根据权利要求1或2所述的一种海洋浮游生物的附着组件,其特征是,所述的孢子瓶(3)底部开口处设有铁制的网格状阻隔层(32)。

4.根据权利要求1所述的一种海洋浮游生物的附着组件,其特征是,所述的支架中心设有若干个附着瓶(4),所述附着瓶(4)的瓶底开口并设有若干向外翻折且与附着瓶为一体结构的附着须(4a),所述的附着瓶同轴串联固定形成长条形的附着体。

5.根据权利要求1所述的一种海洋浮游生物的附着组件,其特征是,所述的外瓶体(2)的瓶身上设有若干均匀分布的小孔(2a)。

6.根据权利要求1或2或4或5所述的一种海洋浮游生物的附着组件,其特征是,所述的外瓶体(2)内设有与外瓶体(2)同轴的内瓶体(5)。

7.根据权利要求6所述的一种海洋浮游生物的附着组件,其特征是,所述的外瓶体(2)和内瓶体(5)的表面均覆有贝壳碎片。