欢迎来到知嘟嘟! 联系电话:13336804447 卖家免费入驻,海量在线求购! 卖家免费入驻,海量在线求购!
知嘟嘟
我要发布
联系电话:13336804447
知嘟嘟经纪人
收藏
专利号: 2012105292558
申请人: 浙江工业大学
专利类型:发明专利
专利状态:已下证
专利领域: 救生;消防
更新日期:2023-08-24
缴费截止日期: 暂无
价格&联系人
年费信息
委托购买

摘要:

权利要求书:

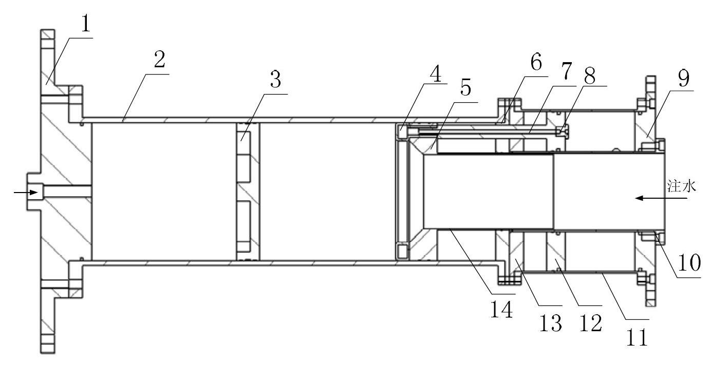
1.一种气囊缓冲的高压气体发射水弹装置,其特征在于:所述水弹装置包括加速缸和缓冲缸,所述加速缸包括缸体、加速缸上端盖、加速缸下端盖、活塞和缓冲环,所述缸体的上端与加速缸上端盖连接,所述缸体的下端与加速缸下端盖连接,所述活塞可上下移动地安装在缸体内,所述缓冲环可上下移动地安装在缸体内,所述加速缸上端盖与缓冲缸下端盖连接;

所述缓冲缸包括内缸体、外缸体、缓冲缸上端盖和缓冲缸下端盖,所述内缸体位于外缸体内,缓冲缸上端盖分别与内缸体、外缸体的上端连接,所述缓冲缸下端盖分别与内缸体、外缸体的下端连接;所述内缸体、外缸体、缓冲缸上端盖和缓冲缸下端盖组成环形气缸,所述环形气缸内有环形活塞,所述环形活塞上安装至少3根活塞杆,其中一个活塞杆中有一个内部有通孔,通孔的上端连接固定节流阀,通孔的下端与缓冲气囊连通,所述缓冲气囊为环形结构,所述缓冲气囊安装在缓冲环上;

挡水筒下部与缓冲环内侧连接,所述挡水筒上部插入缓冲缸的中心孔内。