欢迎来到知嘟嘟! 联系电话:13095918853 卖家免费入驻,海量在线求购! 卖家免费入驻,海量在线求购!
知嘟嘟
我要发布
联系电话:13095918853
知嘟嘟经纪人
收藏
专利号: 2011103901985
申请人: 华侨大学
专利类型:发明专利
专利状态:已下证
专利领域: 光学
更新日期:2024-01-05
缴费截止日期: 暂无
价格&联系人
年费信息
委托购买

摘要:

权利要求书:

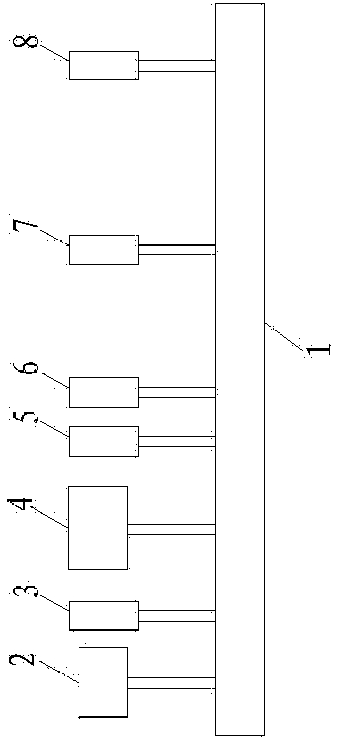
1.长距离近似无衍射光束的产生装置,包括激光器、第一轴棱锥、第二轴棱锥和会聚透镜,其中,第一轴棱锥的底角小于第二轴棱锥的底角;其特征在于:还包括光学导轨、可调衰减器、望远镜准直扩束系统和光阑,在光学导轨上放置激光器,沿激光光路在此光学导轨上依次放置可调衰减器、望远镜准直扩束系统、光阑、第一轴棱锥、会聚透镜、第二轴棱锥;

会聚透镜与第一轴棱锥之间的距离大于会聚透镜的焦距并小于第一轴棱锥产生的近似无衍射光束的传播距离。

2.根据权利要求1所述的长距离近似无衍射光束的产生装置,其特征在于:上述激光器、上述可调衰减器、上述望远镜准直扩束系统、上述光阑、上述第一轴棱锥、上述会聚透镜和上述第二轴棱锥根据需要在上述光学导轨上任意滑动。

3.根据权利要求1所述的长距离近似无衍射光束的产生装置,其特征在于:上述可调衰减器由两个偏振片组成,通过旋转此两个偏振片改变此两个偏振片的偏振方向之间的夹角来对透过的光强进行控制。