欢迎来到知嘟嘟! 联系电话:13336804447 卖家免费入驻,海量在线求购! 卖家免费入驻,海量在线求购!
知嘟嘟
我要发布
联系电话:13336804447
知嘟嘟经纪人
收藏
专利号: 2011103615786
申请人: 浙江工业大学
专利类型:发明专利
专利状态:已下证
专利领域: 基本电气元件
更新日期:2023-12-11
缴费截止日期: 暂无
价格&联系人
年费信息
委托购买

摘要:

权利要求书:

1.提高固体激光器泵浦利用效率的方法,包括如下步骤:

步骤1,制备掺有半导体量子点的波长转换材料,所述波长转换材料吸收固体激光器泵浦光的短波长部分的光并将其转换为激光材料吸收峰处的光,使得原本不在激光材料吸收峰范围内的光被激光材料吸收;

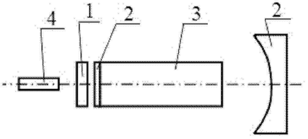
步骤2,在固体激光材料和泵浦光源之间放置所述的波长转换材料,所述的波长转换材料的放置位置在激发光传输到固体激光材料前的路径上。

2.如权利要求1所述的一种提高固体激光器泵浦利用效率的方法,其特征在于:所述的步骤1采用熔融法直接在硅酸盐玻璃或者硼酸盐玻璃中产生量子点,合理控制制备条件,使得产生的量子点具有适当的尺寸,所述的量子点发射峰处于固体激光材料的吸收峰处,所述的量子点就会把处于量子点吸收光谱内的光,转化为可以被固体激光材料吸收的光,从而为固体激光材料提供泵浦能量。

3.如权利要求1所述的一种提高固体激光器泵浦利用效率的方法,其特征在于:所述的步骤1包括:

(1)采用化学法产生分散于胶体的量子点,合理控制制备条件,使得产生的量子点具有适当的尺寸,所述的量子点发射峰处于固体激光材料的吸收峰处,所述的量子点就会把处于量子点吸收光谱内的光,转化为可以被固体激光材料吸收的光,从而为固体激光材料提供泵浦能量;

(2)再将这些量子点掺入透明光学基质材料混合,制成掺有量子点的固态材料。

4.如权利要求3所述的一种提高固体激光器泵浦利用效率的方法,其特征在于:固体激光材料为掺杂钇铝石榴石类、掺杂氟化铝锶锂类、掺杂钒酸钇或掺杂钨酸钾钆类;所述的波长转换材料的基质材料为二氧化硅玻璃、硅酸盐玻璃、氟化物玻璃、光学紫外胶、PMMA或者PS;所述的波长转换材料中所掺杂量子点为:CdSe或CdS或核壳结构的CdSe-ZnSe或CdSe-ZnS或CdS-ZnS;所述的波长转换材料内掺杂的量子点直径在1~10nm。

5.采用权利要求1所述的方法的高效固体激光器泵浦,包括固体激光材料和泵浦光源,其特征在于:在固体激光材料和泵浦光源之间放置一种掺有半导体量子点的波长转换材料,所述的波长转换材料吸收泵浦光源的短波长部分的光并将其转换为固体激光材料吸收峰处的光,所述的波长转换材料的放置位置在激发光传输到固体激光材料前的路径上。

6.如权利要求5所述的高效固体激光器泵浦,其特征在于:所述的泵浦光源可以是氙灯、溴钨灯、氪灯或者太阳光之一,或其组合。