欢迎来到知嘟嘟! 联系电话:13336804447 卖家免费入驻,海量在线求购! 卖家免费入驻,海量在线求购!
知嘟嘟
我要发布
联系电话:13336804447
知嘟嘟经纪人
收藏
专利号: 2011102292725
申请人: 浙江大学台州研究院
专利类型:发明专利
专利状态:已下证
专利领域: 基本上无切削的金属机械加工;金属冲压
更新日期:2023-08-24
缴费截止日期: 暂无
价格&联系人
年费信息
委托购买

摘要:

权利要求书:

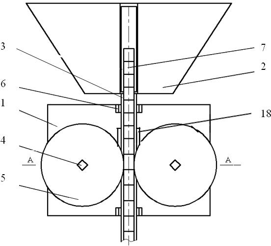
1.一阀门锻前加热炉送料机构,其包括底座、料斗和V型导轨,底座上,通过摩擦轮轴设有摩擦轮,摩擦轮为左右对称的两个,两摩擦轮反向运转,底座上设有前后两个导轨支撑,V型导轨设于导轨支撑上,V型导轨夹在两个摩擦轮之间,V型导轨的下面设有导轨气缸,料斗设于底座的上方,V型导轨延伸到料斗内,棒料毛坯杂乱地分布于料斗中,其特征在于: 所述两个摩擦轮轴上分别设有移动块,移动块位于底座侧面的缺口槽中,移动块可以在缺口槽中左右移动,移动块上设有摩擦轮轴孔和螺杆孔,摩擦轮轴设于摩擦轮轴孔内,底座上设有左右两个螺杆,螺杆从底座侧面穿过,再螺接于螺杆孔内,螺杆孔分别为右旋螺纹和左旋螺纹,摩擦轮轴的底端固接有棘轮,棘轮上设有连杆,底座的底部设有摩擦轮气缸,摩擦轮气缸内的活塞杆上设有连接块,两个连杆通过销钉铰接在连接块上。

2.根据权利要求1所述的阀门锻前加热炉送料机构,其特征在于:所述V型导轨分为水平段、倾斜段和竖直段,水平段位于底座上,倾斜段位于料斗和底座之间,竖直段位于料斗内。

我要求购
我不想找了,帮我找吧
您有专利需要变现?
我要出售
智能匹配需求,快速出售