欢迎来到知嘟嘟! 联系电话:13336804447 卖家免费入驻,海量在线求购! 卖家免费入驻,海量在线求购!
知嘟嘟
我要发布
联系电话:13336804447
知嘟嘟经纪人
收藏
专利号: 2010101368506
申请人: 浙江工业大学
专利类型:发明专利
专利状态:已下证
专利领域: 基本电气元件
更新日期:2023-08-24
缴费截止日期: 暂无
价格&联系人
年费信息
委托购买

摘要:

权利要求书:

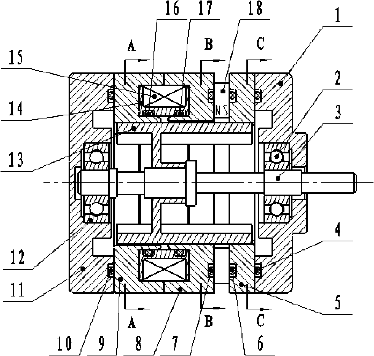
1.一种耐高压双向旋转式高速开关电磁铁,包括前端盖和后端盖,其特征在于:所述高速开关电磁铁还包括定子部件和转子部件,所述转子部件包括转子和转子轴,转子安装在转子轴上,所述转子轴的两端分别可转动地安装在前端盖和后端盖上,所述定子部件包括第一轭铁、第二轭铁、第三轭铁、隔磁环、线圈和永磁体;所述第一轭铁呈实心圆环状;所述第二轭铁和第三轭铁均一端开口,所述第一轭铁、第二轭铁、第三轭铁均布置在所述转子外圈,所述第二轭铁和第三轭铁的开口相对并形成空腔,所述隔磁环位于所述空腔内,所述线圈环绕在隔磁环上组成电流励磁源;所述永磁体位于所述第一轭铁和第二轭铁之间且被轴向磁化成N极和S极;所述第一轭铁与前端盖固定连接,所述第三轭铁与后端盖固定连接;所述第一轭铁、第二轭铁、第三轭铁的内圆周面均开有形状相同且均匀分布的两个大齿;所述第二轭铁的齿沿顺时针方向超前第一轭铁的齿1/2个齿宽,所述第三轭铁的齿沿顺时针方向落后第一轭铁的齿1/2个齿宽,所述转子的外表面开有两个与轭铁大齿形状相同且均匀分布的转子齿。

2.如权利要求1所述的耐高压双向旋转式高速开关电磁铁,其特征在于:所述转子为薄壁空心转子。

3.如权利要求1或2所述的耐高压双向旋转式高速开关电磁铁,其特征在于:所述隔磁环与所述第二轭铁、第三轭铁均密封连接;所述第一轭铁的侧壁与所述前端盖密封连接,所述第三轭铁的侧壁与所述后端盖密封连接。